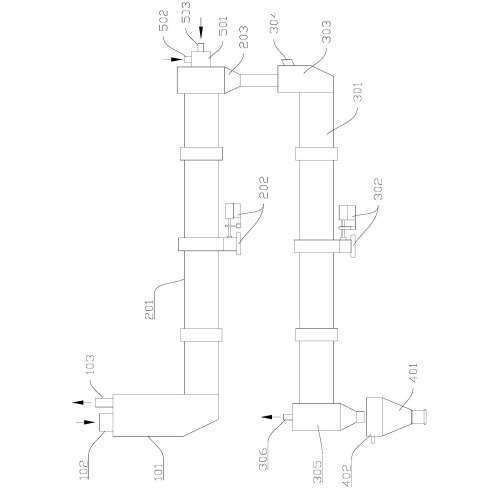
土壤熱解吸修復系統涉及污染土壤修復技術領域,尤其是涉及一種有機污染土壤熱解吸修復系統及工藝,該有機污染土壤熱解吸修復系統,包括預加熱器系統、高溫熱解吸窯系統、低溫熱解吸器系統和土壤出料系統;所述預加熱器系統、所述高溫熱解吸窯系統、所述低溫熱解吸器系統和所述土壤出料系統依次相連通。本發明通過設置預加熱器系統以充分利用高溫熱解窯系統產生的高溫尾氣,提高了熱能利用率;通過高溫熱解吸窯系統、低溫熱解吸器系統分別處理不同污染程度的有機污染土壤,大大降低了熱解吸處理的能耗,運行成本低。
有機污染土壤熱解吸修復系統的修復工藝,其特征在于,包括以下步驟 :
1、將待修復的污染土壤按照污染物揮發性的差異分為輕度有機污染土壤和重度有機污染土壤 ;
2、將所述重度有機污染土壤送入所述預加熱器系統,利用所述高溫熱解吸窯的高溫尾氣進行預加熱 ;
3、所述預加熱器將經過預加熱的所述重度有機污染土壤輸送至所述高溫熱解吸窯系統,并在第一設定溫度下進行高溫熱解吸處理,得到高溫出土 ;
4、將所述高溫出土送入所述低溫熱解吸器系統,同時將所述輕度有機污染土壤同步送入所述低溫熱解吸器系統,兩者在所述低溫熱解吸器中混合,利用所述高溫出土的余熱作為解吸熱源,所述輕度有機污染土壤在第二設定溫度下進行低溫熱解吸處理,所述高溫出土和所述輕度有機污染土壤經過處理后得到凈化土 ;
5、將所述凈化土送入土壤出料系統,進行補水加濕處理。
某污染場地為石油化工生產企業,搬遷改造后的遺留場地土壤受到苯、萘和多環芳烴的污染,污染物濃度、土方量及處理信息,參見下圖所示。在只采用高溫熱解吸的技術時,工藝參數 : 高溫熱解吸窯的處理量為 20m3/h,高溫熱解吸窯的出土溫度為 400℃,窯內土壤的停留時間為 15min,每立方污染土的修復能耗為 60m3天然氣 ;采用本發明后,工藝參數 :高溫熱解吸窯的處理量為 20m3/h,低溫熱解吸器的處理量為 14m3/h,高溫熱解吸窯的出土溫度為 400℃,低溫熱解吸器的出土溫度為 150℃,窯內土壤的停留時間均為 15min,立方污染土的修復能耗為 45m3天然氣,可實現節能 25%。
