目前,市場上所使用的土壤淋洗修復設備的機構比較的復雜,操作也是很不方便,給使用者帶來了很多的困難,而且現有的土壤淋洗修復設備只是有單一的淋洗的功能,不具有對化學原料進行攪拌的功能,需要將化學原料攪拌完成后才能進行使用,這樣就極大的增加了工作的時間,降低了
土壤淋洗修復的工作效率。針對這些缺點一種便捷式土壤淋洗修復裝置出現了,它解決了以上的所有難題。

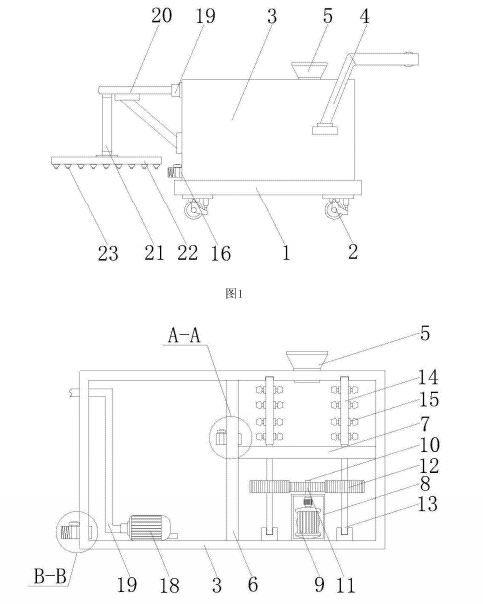
便捷式土壤淋洗修復用化學裝置,包括底座,所述底座底部的兩側均固定連接有車輪裝置,并且底座的頂部固定連接有淋洗箱,所述淋洗箱上固定連接有手推架,并且淋洗箱頂部的一側連通有進料斗。該便捷式土壤修復用化學淋洗裝置,解決了現有的土壤修復淋洗設備只是具有單一的淋洗功能,不具有對化學原料進行攪拌功能的情況,防止了需要將化學原料攪拌完成后才能進行使用的問題,極大的縮短了工作的時間,提高了土壤修復淋洗的工作效率,改變了目前市場上所使用的土壤修復淋洗設備結構復雜,操作不便的問題,更好的方便了使用者使用,提高了使用的效率,節約了噴灑的時間,降低了化學藥物的浪費。