隨著工業的迅猛發展,土壤污染日益嚴重,已成為一個全球性的環境問題,土壤污染來源廣泛,具有隱蔽性、長期性和不可逆性等特點,直接或間接的污染地下水、空氣,危害農作物及生物,甚至危及人類的健康和生命,因此,修復土壤污染,恢復土壤原有功能,一直是國內外的熱點及難點問題。針對它的不足,提供了能淋洗不同的土壤量,具有淋洗效率高,淋洗徹底的鹽分
土壤淋洗設備。

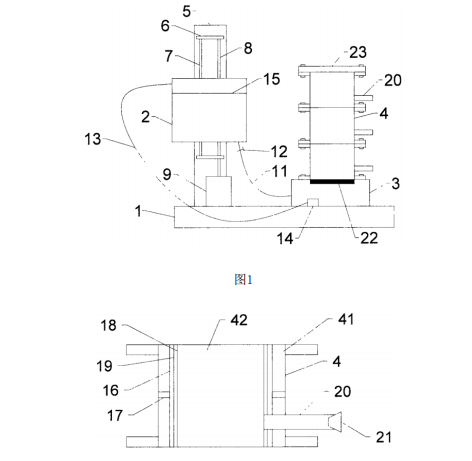
鹽分土壤淋洗設備,包括底座,底座上設置有升降裝置和進液箱,升降裝置上設置有儲液箱,儲液箱通過出水管與進液箱相連,出水管上設置有閥門,進液箱上設置有淋洗筒,淋洗筒內套設有內筒,內筒將淋洗筒內腔分隔成進水腔和浸洗腔,內筒上均布有若干通孔,內筒內壁上固定有柱形鋼絲網,鋼絲網與內筒之間設置有柱形濾布,浸洗腔連接有伸出淋洗筒外部的出料口,出料口內設置有堵塞,最底部的淋洗筒與進液箱相通且該淋洗筒底部設置有透水網板,最頂部的淋洗筒上端設置有封蓋;本實用新型通過設置不同數量的淋洗筒,能淋洗不同土壤量,淋洗劑通過浸洗腔外周對浸洗腔內土壤進行浸透淋洗,具有淋洗效率高,淋洗徹底。