土壤是植物生長繁育的自然基地,是農業的基本生產資料,是人類賴以生存的極其重要的自然資源,隨著工業,城市污染的加劇和農用化學物質種類,數量的增加,土壤重金屬污染具有隱蔽性,長期性和不可逆性的特點。土壤中有害重金屬累積到一定程度,不僅會導致土壤退化,農作物產量和品質下降,而且還可以通過徑流,淋失作用污染地表水和地下水,惡化水文環境,并可能直接毒害植物或通過食物鏈途徑危害人體健康。

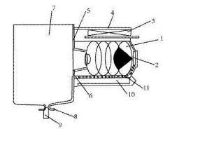
土壤修復設備,包括:土壤槽、土壤注射器、空氣燃燒腔室、天然氣注射器、天然氣管道、熔渣噴口、燃燒爐、燒爐液體流出管、熔渣火罐、旋風分離器腔室、氣孔,所述土壤槽上設有土壤注射器,土壤槽的上方設有空氣燃燒腔室,空氣燃燒腔室上方設有天然氣注射器,所述空氣燃燒腔室下方設有天然氣管道,所述天然氣通過天然氣管道輸送至土壤槽內,土壤槽的下方設有熔渣噴口,熔渣噴口與燃燒爐連接,所述土壤槽的下方設有旋風分離器腔室,旋風分離器腔室上設有氣孔,所述燃燒爐壁上設有燒爐液體流出管,燃燒爐下方設有熔渣火罐。