土壤重金屬是指由于人類活動將金屬加入到土壤中,致使土壤中重金屬明顯高于原生含量、并造成生態環境質量惡化的現象。污染土壤的重金屬主要包括汞(Hg)、鎘(Cd)、鉛(Pb)、鉻(Cr)和類金屬砷(As)等生物毒性顯著的元素。
現今,重金屬污染
場地修復方法是微生物修復法、土壤淋洗技術、
土壤熱解吸技術等。但是微生物修復法的修復周期較長,目前常用的
土壤淋洗技術需要對土壤進行破碎篩分預處理,去除土壤中的石子等雜質避免影響后續淋洗步驟。
重金屬污染
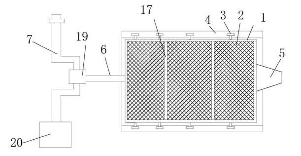
土壤破碎篩分設備通過曲軸,加大了篩網的振幅,使得污染土壤淋洗以后更容易下漏,從而減少了使用的淋洗液,方便了后續對土壤的烘干操作。包括篩網框架,篩網框架內設置有過濾篩,篩網框架兩側安裝有滾輪,滾輪搭設在機架上;篩網框架右端設置有出口,出口處配合設置有雜物傳輸帶;篩網框架左端連接有連桿,連桿通過套環套設在曲軸上,曲軸連接有電機;過濾篩上方設置有土壤淋洗設備,過濾篩下方設置有集料斗,集料斗下方設置有泥水分離設備。

圖中:篩網框架1、過濾篩2、滾輪3,滾輪3、機架4、出口5、雜物傳輸帶11、連桿6、曲軸7、土壤淋洗設備、集料斗9、泥水分離設備8